
Электроприводы Belimo | Приводы Belimo | Сервоприводы Belimo
127106, Россия, г.Москва, Нововладыкинский пр., д.8, стр.4, офис 100.
Тел.: 8 (800) 201-64-80 Еmail: belimo@rusmark.ru
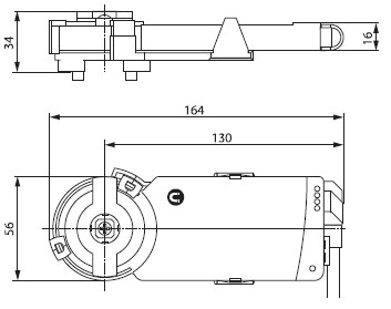
Электрический поворотный привод Belimo KR24-SR регулирует работу 2- и 3-ходовых кранов, диаметром до 20 мм. IP54, III класс защиты от тока.
| U номинал / диапазон U | 24 В; 19,2 (21,6) – 28,8 В |
| Частота тока | 50/60 Гц |
| Показатели мощности | 2 ВА – расчетное значение
1 Вт – рабочее состояние 0,5 Вт - в состоянии покоя |
| Присоединение к току | С помощью кабеля, длина - 100 см , 4×0,75 мм² |
| Управление | Управляющий сигнал (Y): 2 – 10 В, при вход. R = 100 кОм Диапазон для работы: 2 – 10 В Обратная связь: 2 – 10 В, при max 1 мА |
| Погрешность хода | +/- 5% |
| Подключение 2-х приводов сразу | Возможно |
| Вращающий момент (миним.) | 2 Нм |
| Управление вручную | Есть, осуществляется магнитом |
| Установка значений Kvs | Ограничение угла поворота от положения 90 ° (А-АВ=100%) с шагом 2,5 ° |
| Время срабатывания (при угле 90°) | 75 сек |
| Допустимый шум при работе | Не более 35 дБ |
| Индикатор позиции | С помощью съемного указателя, механического |
| Защита от тока | Класс III (только низкие U) |
| Защита корпуса | IP54, от положения установки не зависит |
| t внешней среды | От –30 до +50 °С |
| t рабочей среды | От +5 до +80 °С |
| t в состоянии покоя | От –40 до +80 °С |
| Влажность воздуха отн. | 95%, без конденсации |
| Поддержка тех. службы | Нет |
| Масса | Около 220 г |
Процесс установки
Для установки электропривода Belimo KR24-SR используется всего 1 винт. Возможны 2 варианта установки: горизонтальное и вертикальное (шаг 90°).
Принцип управления
Для управления приводом Belimo KR24-SR используется аналоговый сигнал в стандартном диапазоне от 2 до 10 В, согласно которому привод открывается до необходимого положения. Текущую позицию электропривода отображает сигнал обратной связи (измеряемое U), который также может быть управляющим сигналом для других приводов.
Возможно управление приводом вручную посредством магнита, входящего в базовую комплектацию. Для активации режима ручного управления и вывода редуктора из зацепленного состояния необходимо переместить магнит в специальную зону на корпусе.
Надежная защита от перегрузок
Электропривод Belimo KR24-SR автоматически выключается при прохождении финальных позиций, за счет чего обеспечивается его высокая функциональная надежность.
Для получения подробной информации по изделию и заказа электропривода Belimo KR24-SR звоните по телефону 8 (499) 201-22-47.
Скидки и оптовые цены обсуждаются индивидуально.
Гарантия на поворотный электропривод Belimo KR24-SR – 5 лет со дня покупки. К устройству также прилагаются сертификат соответствия и паспорт.


Скачать PDF (373 Кбайт)
Сертификат BELIMO (775 Кбайт)