
Электроприводы Belimo | Приводы Belimo | Сервоприводы Belimo
127106, Россия, г.Москва, Нововладыкинский пр., д.8, стр.4, офис 100.
Тел.: 8 (800) 201-64-80 Еmail: belimo@rusmark.ru
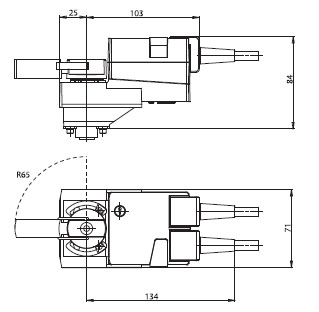
Привод для установки на шаровой кран, IP54.
Поворотный электропривод БЕЛИМО LR24A для шаровых кранов.
| Номинальное напряжение | 24 В ~ 50/60 Гц 24 В= |
| Диапазон номинального напряжения | 19,2…28,8 В ~/= |
| Расчетная мощность | 2 ВА |
| Вспомогательный переключатель | 1 однополюсный, 1 мА… 3(0,5)А, 250 В~(настраивается 0…100 %) (для LR24A-S) |
| Потребляемая мощность: - во время вращения - в состоянии покоя |
1,0 Вт 0,2 Вт |
| Соединение: - питание - вспомогательный переключатель |
Кабель: 1 м, 3 х 0,75 мм2 1 м, 3 х 0,75 мм2 |
| Параллельное соединение | Возможно c учетом мощностей |
| Крутящий момент (номинальный) | Мин. 5 Нм при номинальном напряжении |
| Ручное управление | Редуктор выводится из зацепления при помощи кнопки с самовозвратом, ручная блокировка |
| Время поворота | 90 с / 95° |
| Уровень шума | Макс. 35 дБ (без клапана) |
| Индикация положения | Механический указатель, съемный |
| Класс защиты | III (для низких напряжений) |
| Электромагнитная совместимость | Соответствует 89/336/ЕЕС |
| Степень защиты корпуса | IP54 в любом положении установки |
| Температура окружающей среды | 0…+50° С |
| Температура переносимой среды | +5…+120° С (шаровой кран) –10° С с подогревом штока по запросу |
| Температура хранения | –40…+80° С |
| Влажность окружающей среды | 95% отн., не конденсир.(по EN 60730-1) |
| Техническое обслуживание | Не требуется |
| Вес | ≈ 550 г LR24A ≈ 600 г LR24A-S |
Простая установка
Поворотный электропривод BELIMO LR24A простая установка на шаровой кран при помощи одного винта. Положение установки по отношению к шаровому крану может выбираться с шагом 90 °.
Ручное управление
Привод для клапанов BELIMO LR24A возможно ручное управление при помощи кнопки с самовозвратом (при нажатой кнопке редуктор выводится из зацепления).
Настраиваемый угол поворота
Угол поворота поворотный электропривод БЕЛИМО LR24A настраивается при помощи механических упоров.
Высокая функциональная надежность
Belimo LR24A поворотный привод Белимо защищен от перегрузки, не требует конечных выключателей и останавливается автоматически при достижении конечных положений.
Купить привод БЕЛИМО LR24A а также запросить его цену и стоимость вы можете позвонив по телефону: 8 (499) 201-22-47.
Скидки и оптовые цены на электропривод БЕЛИМО LR24A мы обсуждаем индивидуально.
На поворотный привод клапана BELIMO LR24A распространяется 5 лет гарантии с момента продажи, а также сертификат соответствия и паспорт изделия.


Скачать PDF (197 Кбайт)
Сертификат BELIMO (775 Кбайт)